CONNECTIONLOCK
Connectionlock is een eenvoudig en effectief system voor het beveiligen van koppelingen aan nutsvoorzieningsmeters.
PRIJSAANVRAAG
Omschrijving
Connectionlock is een eenvoudig en effectief system voor het beveiligen van koppelingen aan nutsvoorzieningsmeters.
De transparante kunststof laat een visuele controle op de integriteit van de koppeling toe.
Extra controle op de intactheid van de sluiting kan geboden worden door het aanbrengen van een genummerd veiligheidszegel . (TWISTSEAL)
Eens correct gesloten, kan de Connectionlock niet ongeschonden worden verwijderd.
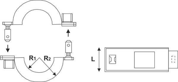
AFMETINGEN
ART 311 : L: 26 mm R1: 16 mm R2: 22 mm
Geschikt voor DN20 (3/4”) meters
ART 312 : L: 30 mm R1: 16 mm R2: 24,5 mm
Geschikt voor DN20 (3/4”) koppelingen
ART 313 : L: 28 mm R1: 19 mm R2: 27 mm
Geschikt voor DN25 (1”) meters
ART 314 : L: 38 mm R1: 29 mm R2: 39 mm
Geschikt voor DN40 (1½”) meters
ART 314 : L: 38 mm R1: 29 mm R2: 39 mm
DN40 (1½”) Pour un Raccord
MATERIAAL
Polycarbonaat (PC)
VERPAKKING[su_row][su_column size=”1/2″]
Art: 311
500 scèlles zegels per karton
Afmetingen karton: 40x60x35 cm
Gewicht karton: 13 kg
Art: 312
500 scèlles zegels per karton
Afmetingen karton: 40x60x38 cm
Gewicht karton: 13 kg
[/su_column][su_column size=”1/2″]
Art: 313
500 scèlles zegels per karton
Afmetingen karton: 40x60x35 cm
Gewicht karton: 14 kg
Art: 314
250 scèlles zegels per karton
Afmetingen karton: 40x60x35 cm
Gewicht karton: 9 kg
[/su_column][/su_row]
GERELATEERDE PRODUKTEN
Deze kunnen u ook interesseren…
-
Kabel zegels 3,5×250 mm, High security, ISO17712: 2013
Kabel zegels 3,5×250 mm kabelverzegeling dewelke voldoet aan ISO17712:2013
-
UHF RFID Beveiligde sleutelhouder type kabelverzegeling
Robuuste sleutelhouder type kabelverzegeling, dankzij RFID technologie valt deze onder high security. Beschikt over een ingebouwde anti-tamper functie zodat eventuele manipulatie van de sleutels kan aangetoond worden. Ideale aanvulling op sleutelbeheersystemen
-
UHF RFID Cable seal high security – Anti-Tamper
High Security kabelverzegeling werkend met passieve UHF RFID, automatische radiofrequentie-identificatie. Beschikbaar in een logistieke versie (enkel identificatie), en een anti-tamper versie













